| 随着我国建筑业的发展而不断壮大。而今各行建筑已离不开空调。现代建筑为了满足适性和工艺性的要求,普遍引入空调系统,空调是一个非常耗能的技术领域。故而节能是个广泛的话题,为了节能或降低造价而尽可能减少新风量等原因,室内产生的有害气体和生物污染物得不到合理置换和稀释,CO2含量超标。特别是新装饰的房间中,甲醛、氨、苯、氡等有害物质严重超标,空气品质恶化。从而使在建筑物内工作、生活的人们健康受到广泛影响,表现出如困倦、泛力、胸闷、精神恍惚、过敏、工作效率下降,这就是人们常说的“空调病”。故而空调房间的空气品质、新风供应和节能成为建筑师和空调设计师的永恒话题。
节能、可靠、简捷的新风系统引起了人们广泛的关注。我公司集十数年通风设备制作的经验,集国内外同类产品的特点,研制出适合我国国情的新风换气系统。KXF系列高效节能新风换气机应运而生,采用了高效静止热回收交换器(效率可达75%以上)从而大幅度降低了空调房间因补进新风而增加的费用,达到节能的目的,提高了室内的空气品质。KXF系列高效节能新风换气机具有体积小、安装方便和节省空间价格性能比高,广泛适用于各类建筑。 特点: 1.双向换气,室内外气体等量置换。 2.净化空气,配有不同的过滤器可有效防止灰尘和有害物质进入室内,保持室内空气新鲜。 3.节能省耗,内置静止热交换器,效率大于75%,冷热负荷不受风影响,大大降低新风处理所耗能量,达到节能效果。 4.简便设计,本公司优化设计了多种机型,适合15m2-1000m2的建筑单元,一体化结构,设计安装简单,并适合各种改造工程。 5.噪声低,性能忧。高精度免维护精密轴承的选用,低噪声风机和内部消音处理结构,防止了机器运转时对环境的干扰,运行可靠,一劳永逸。 6.高效益、低费用。替代新风处理设备,不必另设设备间,可减少投资并节省空间。利用热回收技术节能降耗,节约新风处理能耗75%以上,免冷热源供应,一体化结构,维护工作量少,节省大量费用。
用途: 本产品是空调房间通风的能量回收装置,在多种场合可以采用。对降低冷热源的设备容量和房间空调运行的能耗,提高节能效益,特别在全新风系统的应用效果上尤为突出。 型号命名:KHQ-500D L Z K:凯程系列 HQ:高效节能新风换气机 500:额定通风量(m3/h) D:D为吊顶式,L为立式,Z为组装式
新风换气机通风特点和效果

|
在冬天的功能——暖气空调时 |
在夏天的功能——冷气空调时 |
| 交换计算式
冬天:室内供气温度=(室内温度-室外温度)
×热交换效率+室外温度计算例:(18℃-0℃)×75%+0℃=13.5℃ |
热交换计算式
冬天:室内供气温度=室外温度-(室外温度-室内温度)
×热交换效率计算例:32℃-(32℃-24℃)×75%=26℃ |

性能参数表
 |
KHQ-200D |
KHQ-300D |
KHQ-500D |
|
额定风量(m3/h) |
200 |
300 |
500 |
|
出口静压(Pa) |
25 |
75 |
75 |
|
热交换率(%) |
70 |
70 |
70 |
|
噪 声dB(A) |
42 |
44 |
48 |
|
装机功率(KW) |
2×0.04 |
2×0.06 |
2×0.1 |
|
额定电压(V) |
220 |
220 |
220 |
|
重量(Kg) |
30 |
45 |
65 | |
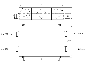
外形尺寸表
|

|
L |
W |
H |
A |
B |
出风口尺寸D |
回风口尺寸D |
|
KHQ-200D |
650 |
520 |
250 |
530 |
550 |
150 |
150 |
|
KHQ-300D |
890 |
650 |
250 |
730 |
730 |
150 |
150 |
|
KHQ-500D |
1000 |
820 |
250 |
840 |
840 |
150 |
150 | | | |

性能参数表
|

|
KHQ-800D |
KHQ-1000D |
KHQ-1250D |
KHQ-1500D |
KHQ-2000D |
KHQ-2500D |
KHQ-3000D |
KHQ-4000D |
|
额定风量(m3/h) |
800 |
1000 |
1250 |
1500 |
2000 |
2500 |
3000 |
4000 |
|
出口静压(Pa) |
80 |
110 |
120 |
150 |
175 |
200 |
210 |
260 |
|
热交换率(%) |
70 |
70 |
70 |
70 |
70 |
70 |
70 |
70 |
|
噪 声dB(A) |
48 |
52 |
52 |
54 |
54 |
54 |
53 |
55 |
|
装机功率(KW) |
0.1×2 |
0.25×2 |
0.32×2 |
0.45×2 |
0.45×2 |
0.55×2 |
1.1×2 |
1.5×2 |
|
额定电压(V) |
220 |
380 |
380 |
380 |
380 |
380 |
380 |
380 |
|
重量(Kg) |
105 |
125 |
140 |
160 |
190 |
220 |
230 |
250 | |
| |
| |
| |
| |
|
外形尺寸表
|

|
L |
W |
H |
A |
B |
出风口尺寸 |
回风口尺寸 |
|
C |
D |
E |
F |
|
KHQ-800D |
1190 |
820 |
445 |
1030 |
850 |
280 |
125 |
320 |
200 |
|
KHQ-1000D |
1250 |
1020 |
445 |
1050 |
1060 |
280 |
125 |
320 |
200 |
|
KHQ-1250D |
1250 |
1250 |
445 |
1050 |
1290 |
280 |
210 |
320 |
200 |
|
KHQ-1600D |
1250 |
1530 |
445 |
1050 |
1570 |
280 |
210 |
400 |
200 |
|
KHQ-2000D |
1650 |
1530 |
500 |
1350 |
1570 |
280 |
210 |
400 |
250 |
|
KHQ-2500D |
1650 |
2000 |
500 |
1350 |
2040 |
280 |
210 |
400 |
320 |
|
KHQ-3000D |
1800 |
1600 |
650 |
1500 |
1640 |
330 |
300 |
500 |
320 |
|
KHQ-4000D |
1800 |
2000 |
650 |
1500 |
2040 |
330 |
300 |
500 |
400 | | |